Apple создаст камеру с функцией постфокусировки
Без фокусов
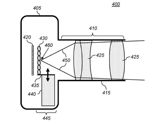
Не прошло и двух лет с момента презентации революцинной технологии постфокусировки в камере Lytro, а Apple уже приготовил ответный удар. Как передает AppleInsider, корпорация получила патент на собственный усовершенствованный пленоптический аппарат. Не исключено, что впоследствии технология будет применена в производстве мобильных устройств.

Технология, впервые продемонстрированная в нашумевшем проекте Lytro, позволяет изменять зону резкости на готовой фотографии, но ее объективные недостатки — низкое качество самих снимков и маленький спектр возможностей камеры. Apple не смог пока решить существующие проблемы, поэтому компания предоставит выбор пользователям: делать снимки с изменяемым фокусом неважного качества или довольствоваться "обычными" фоторографиями с высоким разрешением. Это стало возможным за счет изменения положения блока с микролинзами в камере.
Камерой Lytro заинтересовался еще покойный Стив Джобс, однако осуществить задуманное не успел.
