Apple запатентовали очки для виртуальной реальности
Альтернатива действительности
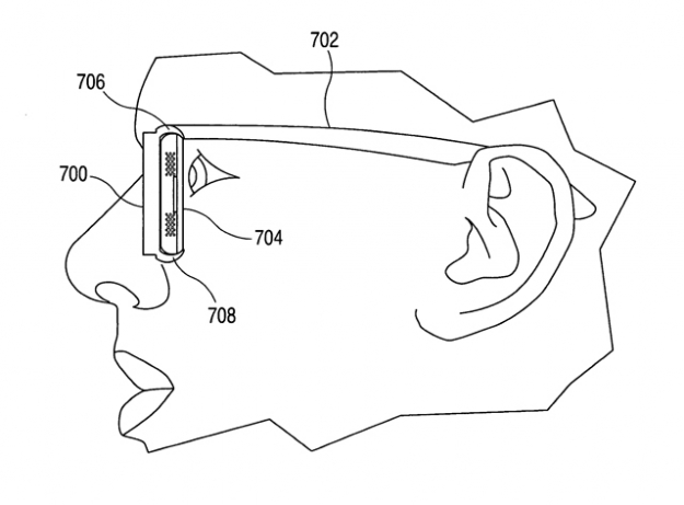
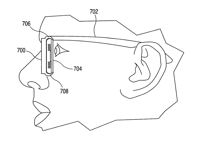
Разрабатывать устройство для путешествия по виртуальной реальности Apple начали еще в 2008 году, задолго до появления подобных средств производства Google и Samsung. Спустя 7 лет процесс создания гаджета подошел к концу, и компания получила патент. Теперь довольно камерный рынок «умных» очков может готовиться к очередной встряске.

Работать новое устройство будет в синхронизации с iPhone — смартфон послужит выводящим экраном. Apple также предусмотрели линейку аксессуаров и технологических «примочек» вроде дистанционного управления, системы охлаждения, встроенной памяти и запасных аккумуляторов.
Гаджет для выхода в виртуальную реальность стал не единственной ожидаемой новинкой от Apple: ходит слух, что гигант собирается выйти на совершенно новый для себя рынок и разрабатывает собственную модель электромобиля.